2015 Chevy Silverado 7 Pin Trailer Wiring Diagram

2015 Chevy Silverado 7 Pin Trailer Wiring Diagram

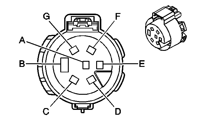
2015 Chevy Silverado 7 Pin Trailer Wiring Diagram. Not sure which wires attach to what on your trailer connectors? The wiring diagram is color coded and shows both the trailer side and the vehicle side.

04 Chevy Silverado Bose Wiring Diagram - Wiring Forums
04 Chevy Silverado Bose Wiring Diagram - Wiring Forums (Roy Barton)
Wiring Guide for Trailer Plugs, Adapters & Sockets. I hooked up to my trailer for the first time yesterday and no electric brakes. Does one of your turn signals not work and you're not sure Various styles of connectors are available with four to seven pins to allow transfer of power for the lighting as well as auxiliary functions such as electric.

Does one of your turn signals not work and you're not sure Various styles of connectors are available with four to seven pins to allow transfer of power for the lighting as well as auxiliary functions such as electric.

If you have power then the problem is on the trailer.

2005 Silverado Trailer Wiring Diagram | Trailer Wiring Diagram

1999-16 CHEVY SILVERADO GMC SIERRA 1500 TRAILER HITCH ...

7 Pin Trailer Connector Wiring Diagram | Tacoma World

2004 Silverado Trailer Wiring Diagram | Trailer Wiring Diagram

2016 Silverado Trailer Wiring Diagram | Trailer Wiring Diagram

Trailer Wiring Diagram For 2002 Chevy Silverado | Trailer ...

There Is No 12 Volts at the Trailer Connector for Charging ...

1998 Chevy Silverado Trailer Wiring Diagram | Trailer ...

Trailer Brake Wiring Diagram 2006 Silverado | Trailer ...

The diagram below shows the view from outside the vehicle socket (under the flap) and from inside. Current slide CURRENT_SLIDE of TOTAL_SLIDES- Best-selling in Wiring Looms. Learn all about trailer wiring at HowStuffWorks.

Share:

Posting Lainnya:

Disqus Comments